188彩票KEKE的SCAR污水复合式排气阀,Sewage composite exhaust valve,用于污水、河水带有泥沙等管道上的最高点或有闭气的地方,靠排除管内的气体来疏通管道,达到正常工作。如不装排气阀,管道出现气阻,就产生管道出水容量达不到设计要求。
污水复合式排气阀性能及优点
1、浮球控制在下部,使污物只能在阀体下部污物不会缠绕上部排气口上,不会影响密封性能。
2、本产品是用污水管道工程的排气阀。
3、浮球为不锈钢,延长使用寿命。
4、能够排除管道中的气体,减少阻力。
5、当管道负压时,能快速自动吸气,防止管道破裂。
污水复合式排气阀工作原理
管内污水在运作时,该阀活瓣停在定位架下部,进行大量排气,当空气排完时,污水进入阀内,球浮起,传动活瓣到关闭,停止排气。管内在运作时会自然产生少量气体,这些气体会集中到管内上部,到相当程度,阀内污水下降,浮球顺水下降,气从小孔排出。如出现停电、停泵,管内水流空时出现负压,浮球顺水下降,打开小孔带动大孔进行大量补气,确保管道安全。SCAR排气阀与CARX排气阀原理一样,只是结构略作改动,杠杆机构稍有改进,这样把浮球控制在下部,使污物只能在阀体下部污物不会缠绕上部排气口上,不会影响密封性能。本产品是用污水管道工程的排气阀。
污水复合式排气阀技术规格型号参数

注:排气阀在使用过程中压力不能低于0.02Mpa,如低于0.02Mpa,排气阀容易出现漏水。须配一只阀门作为检修用。
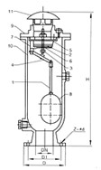
污水复合式排气阀主要外形及连接尺寸







全国服务热线
