188彩票KNKE的进口Y型过滤器,Y-filter,也叫Y型除污器,是指采用铸钢,锻钢或者不锈钢材质,连接方式为各种标志法兰的过滤器,是输送介质的管道系列不可缺少的一种装置,通常安装在减压阀、泄压阀、定水位阀或其它设备的进口端,用来消除介质中的杂质,以保护阀门及设备的正常使用。
Y型过滤器具有结构先进,阻力小,排污方便等特点。法兰式Y型过滤器适用介质可为水,油、气。可按用户要求制作滤网,其外型基本相同(Y型),内部件全部采用不锈钢,坚固耐用。当需要清洗时,只要将可拆卸的滤筒取出,去除滤出的杂质后,重新装入即可,使用维护极为方便。该过滤器体形小、滤眼细、阻力小、效果高、安装检修方便、成本低、并排污时间短,对一般小型号者,只需5-10分钟。
法兰式Y型过滤器一般通水网为18-30目/cm2,通气网为40-100目/cm2,通油网为100-300目/cm2。
进口Y型过滤器技术参数

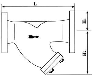
三、进口法兰Y型过滤器 连接尺寸






全国服务热线
