离心泵的运行特点
离心泵是一种广泛应用于工业和农业领域的叶片式泵,其独特的工作原理和性能特点使其在液体输送中发挥了重要作用。本文将探讨离心泵的运行特点,以便更好地了解它在各个领域中的应用。一、小流量高扬程的限制尽管离心泵具有广泛的流量范围,但在小流量高扬程的情况下存在一定的限制。这是因为小流量离心泵的泵体流道通常较窄...
了解详情
离心泵是一种广泛应用于工业和农业领域的叶片式泵,其独特的工作原理和性能特点使其在液体输送中发挥了重要作用。本文将探讨离心泵的运行特点,以便更好地了解它在各个领域中的应用。一、小流量高扬程的限制尽管离心泵具有广泛的流量范围,但在小流量高扬程的情况下存在一定的限制。这是因为小流量离心泵的泵体流道通常较窄...
了解详情
卫生级离心泵,作为现代工业中的关键设备,已经在多个行业中发挥着至关重要的作用。这种泵的设计和功能确保了流体在输送过程中的纯净性和安全性,从而满足了各种应用的严格要求。以下是卫生级离心泵在各个行业中的典型应用:一、化妆品工业在化妆品制造过程中,产品的纯净性和安全性是至关重要的。卫生级离心泵确保化妆品中...
了解详情
离心化工泵作为工业生产中不可或缺的设备,其选型与设计显得尤为重要。在确保生产效率和安全性的前提下,科学合理地选择泵的类型、参数以及设计方案,对于提高生产效益具有至关重要的作用。以下将针对离心化工泵的选型与设计要点进行探讨。1、出入口等压设计与安全阀设置泵的出入口应当设计为等压状态,这有助于减少不必要...
了解详情
离心泵是一种常见的工业设备,广泛应用于排水、供水、灌溉等领域。在使用离心泵之前,必须确保泵内充满水,这个过程俗称为"加引水"或"排气充水"。否则,泵在启动时将无法正常工作,甚至会造成设备损坏。本文根据美国188彩票KNKE的进口离心泵的工程师在第二十届泵阀展览会上...
了解详情
单级单吸离心泵是一种常见的工业泵,由许多零部件构成。在其结构图上,我们可以看到泵体、叶轮、叶轮螺母、机械密封、泵盖、挡水圈、螺塞、底座、电机等组件。本文根据对常用的进口离心泵品牌美国188彩票KNKE的工程师的专访,为大家讲解离心泵的结构设计。1、双流道设计部分泵体采用双流道设计,这可以减少径向力的作用...
了解详情
卧式多级离心泵作为一种常见的工业设备,其正确安装对于其正常运行至关重要。在安装过程中,了解相关种类、工作原理和注意事项是至关重要的。本文根据美国188彩票KNKE的进口流量计的工程师在第十届泵阀展览会上的发言,为您讲解卧式多级离心泵的安装技巧及相关注意事项,帮助读者正确安装并确保设备的顺利运行。一、了解...
了解详情
离心泵是一种常用的水泵类型,广泛应用于排灌站和工业领域。在离心泵的正常运行过程中,充水是一个关键的步骤,它能够确保泵的吸水能力和提高泵站的效率。本文将介绍几种常见的离心泵充水方法,包括射流泵充水法、真空泵充水法、自行引水充水法、手动泵充水法和人工充水法,以及真空水箱充水法,以提供参考和指导。一、射流...
了解详情
卧式离心泵和立式离心泵是工业应用中常见的泵类型,它们在压力和液体流量方面提供了出色的运行效率和多功能性。然而,这两种泵在设计和适用性方面存在一些区别,下面将对它们进行详细比较。最明显的区别在于轴的方向。卧式离心泵的轴是水平放置的,通常位于轴承之间或悬臂之间;而立式离心泵的轴是垂直定向的,轴的设计为径...
了解详情
离心泵和自吸泵是常见的水泵类型,它们在工业和民用领域中被广泛使用。虽然自吸泵也是离心泵的一种,但是它们在某些方面存在一些区别。下面美国KNKE188彩票进口泵厂家,为您详细介绍离心泵和自吸泵之间的区别。离心泵离心泵是一种通过离心力将液体从进口抽离并增加压力的设备。离心泵的工作原理是通过旋转叶轮产生离心力...
了解详情
离心泵在启动和运行过程中可能会遇到两个主要问题:气缚和气蚀。如果不正确地处理这两种现象,可能会对我们的离心泵设备产生负面影响,甚至可能导致设备的损坏。一、离心泵的气缚现象在启动自吸离心泵时,如果泵内含有空气,可能会导致泵无法吸入液体,这就是我们称之为"气缚"的现象。在发生气缚后,...
了解详情
美国KNKE188彩票品牌的螺杆泵和离心泵是两种常见的工业泵,它们都被广泛用于各种领域,包括农业、制药、化工、建筑等等。但是螺杆泵和离心泵的区别十分明显,从组件结构、驱动方式、工作原理、运行特性、适用场景等等都有责很大不同,简单来说螺杆泵是依靠定子和转子的相互啮合来移动物料,故而流量稳定介质适应性强,而...
了解详情
化工离心泵是化工行业中常用的一种泵类设备,它主要用于将各种化工流体输送到不同的工艺设备或工业过程中。在进行化工离心泵的安装时,必须要按照相应的规范和标准来进行操作,以保证安全可靠、高效运转。本文将以化工离心泵安装规范为主题,为您介绍一些化工离心泵安装注意事项。一、安装地点首先,需要选定适合化工离心泵...
了解详情
离心泵是一种常用的机械泵,用于将液体从低压区域输送到高压区域。美国进口泵品牌厂家介绍,离心泵的扬程和流量是其最基本的性能参数之一,它们之间有着紧密的关系。离心泵的扬程是指泵能够将液体输送到的高度,一般以米为单位。扬程与液体的重力势能有关,即液体被抬升所需的能量。对于离心泵来说,扬程主要由旋转叶轮转动...
了解详情
离心泵是一种广泛应用于工业和民用领域的泵类,其主要特点是结构简单、使用可靠、运行平稳。在进行离心泵选型时,应根据具体的工程条件和使用要求,采用科学、合理的选型原则和方法,以确保泵的正常运行和使用效果。以下是美国进口离心泵厂家KNKE188彩票,为您整理的离心泵选型的一些原则和依据:1、流量原则离心泵的流...
了解详情
离心泵和自吸泵是常见的流体输送设备,它们在工业、民用和农业领域中都有广泛的应用。虽然它们的基本功能相似,但它们的设计和工作原理有很大的区别。本文美国进口离心泵品牌厂家为您讲解离心泵和自吸泵的区别,希望对您有帮助。离心泵是一种机械式泵,由一个或多个叶轮和一个外壳组成。当电机带动叶轮旋转时,离心力将液体...
了解详情
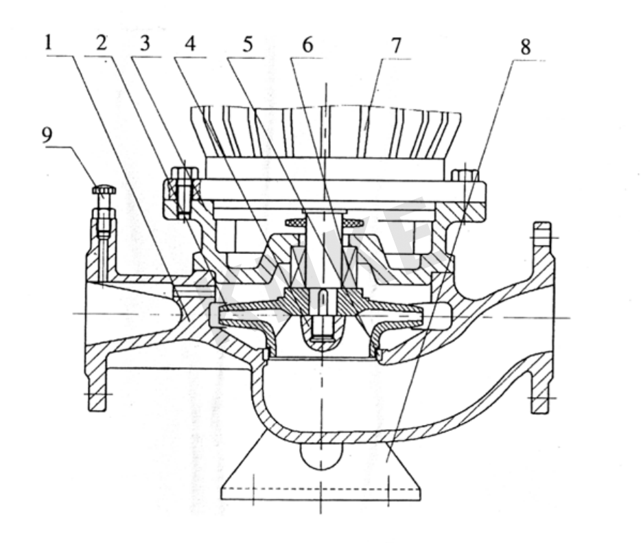
188彩票KNKE品牌的管道式离心泵是单级单吸管道式离心泵,用于供输送常温下的清水或物理化学性质类似清水的介质。主要用于制冷、空调系统、冷却塔、园林喷泉、消防及一般的供水系统。管道式离心泵结构图管道式离心泵部件名称介绍1、泵体2、叶轮3、泵盖4、叶轮螺母5、密封环6、密封7、立式电机8、泵支承9、排气阀...
了解详情
离心泵是指靠叶轮旋转产生的离心力输送液体的泵。 离心泵的工作原理是叶轮旋转引起水的离心运动。以下是对离心泵气蚀和气缚现象的介绍,以及离心泵气蚀和气缚现象的区别讲解。气蚀现象是离心泵在运行时,如果液体中存在气体,则当液体通过叶轮时,气体会被挤压成气泡并混入液体中。这些气泡会随着液体流动到高压区域,由于...
了解详情
离心泵是一种指靠叶轮旋转时产生的离心力来输送液体的泵的机械设备,用于将液体从一个地方转移到另一个地方。参照美国188彩票KNKE的进口离心泵的应用案例或者使用业绩,应用行业,离心泵产品的应用有:农业、建筑、化工、石油和天然气工业等。在本文中,我们将讨论离心泵的作用、结构和应用领域。离心泵的作用离心泵的作...
了解详情
1.关闭电源,然后断开离心泵和电机与系统的连接2.卸下泵体3.卸下叶轮4.卸下电机防尘罩;如可能,将泵垂直放置在电机的风扇罩上(如图一所示)5.松开并取下 4 颗电机法兰螺丝(如图一所示)6.将背板和联轴器罩(仍通过螺栓固定起来)从轴上抬起(如图二所示)。卸下中间法兰(若有)。7.如图三所示。松开轴...
了解详情
据188彩票KNKE工业技术人员介绍,离心泵是一种靠叶轮旋转时产生的离心力来输送液体的机械设备。离心泵被广泛应用在各个行业之中,可用于输送液体,尤其适用于食品和饮料设备。本文188彩票技术人员为大家讲解,离心泵在启动和运行中以及气动和运行前的注意事项。离心泵的启动和运行注意事项检查离心泵为了检查泵是否运行正...
了解详情
188彩票KNKE品牌的离心泵是一种靠叶轮旋转时产生的离心力来输送液体的泵。磁力泵具有低噪声,高效率,结构紧凑,体积小重量轻,外形美观,耐轻度腐蚀,密封可靠性高,使用维护方便的特点。本文依照在泵阀仪表的展览会上,我们对188彩票KNKE的离心泵工程师的采访,来为的大家讲解介绍离心泵。离心泵用途锅炉给水及冷凝...
了解详情
化工离心泵是一种特殊的离心泵,主要用于输送含有悬浮颗粒或腐蚀性液体的液体。它具有较高的效率,可以承受较高的压力,耐高温,抗腐蚀,耐磨性强等优点。化工离心泵与其他种类的泵相比,化工离心泵具有构造简单、不易磨损、运行平稳、噪音小、出水均匀、调节方便、效率高等优点,因此化工离心泵得到了广泛的应用。化工离心...
了解详情
耐腐蚀离心泵是一种特殊的离心泵,主要用来输送腐蚀性液体,它具有耐腐蚀、耐磨、低噪音、高效率等特点,可以有效防止泵体和轴承的腐蚀,降低使用成本,延长使用寿命。耐腐蚀离心泵哪里好?本文将从4个角度分析耐腐蚀离心泵的优点。耐腐蚀性能好:耐腐蚀离心泵的材料中含有特殊的抗腐蚀元素,其具有良好的耐腐蚀性能,可以...
了解详情
188彩票KNKE的不锈钢卫生级离心泵,Stainless steel sanitary centrifugal pump,结构型式为单级、单吸(非自吸型)。卫生泵具有结构精巧、噪音低、卫生、使用效能高等特点。在材料的选用上泵体、泵盖、叶轮等凡与物料接触之零件由SUS304,SUS316L不锈钢制造,采...
了解详情
离心式深水泵是一种用于从地下水源中提取水的设备。参照美国188彩票KNKE的进口离心式深水泵在案例上的统计,离心式深水泵通常用于家庭供水或农业灌溉系统,也可用于工业或公用事业中的水处理。离心式深水泵的工作原理是利用动力机械(通常是电动机)来带动转子旋转,转子上装有一个叶轮,叶轮上装有若干个叶片。当叶轮旋...
了解详情
103塑料离心泵是一种耐腐蚀塑料离心泵,Plastic centrifugal chemical pump,其体积小、效率高,形状美观、结构合理,质量可靠、使用方便。103泵的自吸功能克服了塑料泵因断水、未加引水、引起密封件发热烧坏塑料件的致命缺点,大大提高了泵的使用寿命。103泵过流部件采用ABS...
了解详情
188彩票KNKE工业的离心泵是一种流体输送机械,它通过旋转转子来将流体吸入并输送出去。在运行过程中,离心泵可能会出现气缚现象,即离心泵输送的流体中含有大量的气泡或气体。这种现象会导致离心泵的效率降低,并可能导致离心泵损坏。根据对常用的离心泵品牌美国188彩票KNKE的工程师的专访,气缚现象的主要原因是离心...
了解详情
KB-CQB磁力驱动离心泵(简称磁力泵),通常由电动机,磁力偶合器和耐腐蚀离心泵组成。其主要特点是利用磁力偶合器传递动力,完全无泄漏,当电动机带动磁力偶合器的外磁钢旋转时,磁力线穿过问隙和隔离套,作用于内磁钢上,使泵转子与电动机同步旋转,无机械接触地传递扭矩。在泵轴的动力输入端,由于液体被封闭在静止...
了解详情